Please login to bookmark Close

Recommended Videos

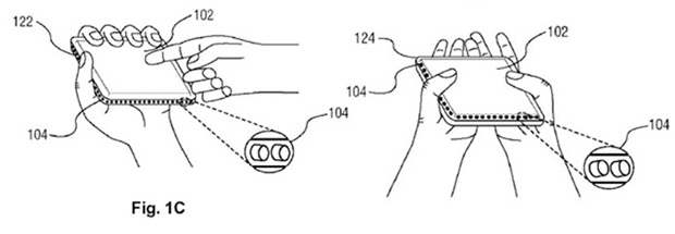
Is Sony working on a new gaming handheld? Probably. Is the device going to feature “touchscreen and digital tactile pixels” like this SCEA patent from back in January talks about? Who knows.

Phil Harrison, the former head of Sony Worldwide Studios, was strangely enough credited for the handheld which may or may not be a new PlayStation Portable, phone, or some sort of combination of the two.

Alternatively, it could be neither of those things and never see the light of day. I’m starting to think the creepier a patent is, the less likely we are to see the thing with our own eyes. In this case, I’d say it’s 50/50 — those hands are giving off a weird vibe.

[Via Siliconera]

NEWSLETTER

SIGN UP FOR THE
DESTRUCTOID NEWSLETTER