Please login to bookmark Close

Recommended Videos

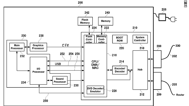
See that boring-looking mass of squiggles up there in the header image? If you happen to be a PlayStation 3 owner that got all huffy when Sony decided to excise backwards compatibility from the PS3 (I certainly did once my launch-model died), what it might represent may well be much more interesting!

Put simply, it’s a patent diagram for what looks to be an external device designed to emulate the hardware functions of the original PlayStation 2. It connects to an unnamed “Next Generation Games Machine”, and contains nearly all of the hardware present in the original PS2, sans disc drive.

What could it all mean?! Well, we know what it could mean: Sony might be selling a box that you can plug into a PS3 that will play your old PS2 games! If you want more details, some people at Eurogamer who are smarter than me speculated on the device’s potential capabilities here.

We’ll keep this in the “rumor” file for now, as it’s merely a patent application, and patents don’t necessarily turn into actual products. But I’ll tell you this: I’d love one of these things if they come out for the right price. I hate having to conduct arcane necromantic rituals on my old PS2 just to get in another session of Sakura Wars.

Sony’s PS2 Adapter Patent Explored [Eurogamer]

NEWSLETTER

SIGN UP FOR THE
DESTRUCTOID NEWSLETTER