Sony patents a Kinect-like device

This article is over 13 years old and may contain outdated information

Recommended Videos

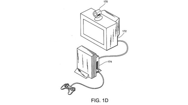
A patent for a “user-driven three-dimensional interactive gaming environment” plugs into a PlayStation to read players movements in a 3D space. Does that sound like some other TV-topping peripheral you know? 1 Zing Point for you if you said EyeToy. 

Kotaku found the newly published patent of this Kinect-like device just recently, though it was filed late last year. Richard Marks, the guy behind PlayStation Move, filed the patent. Hold on to the night.

Yikes. After seeing how PS Move went over, let’s hope this thing stays in Patent Land. 


Destructoid is supported by our audience. When you purchase through links on our site, we may earn a small affiliate commission. Learn more about our Affiliate Policy
Author