Please login to bookmark Close

Recommended Videos

It has finally happened. Ever since Nintendo announced their remote-like controller for the “Revolution” (before they decided to honor it with the glorious mantle of the Wii), companies everywhere have been keeping a very close eye on the Wiimote and Nintendo’s plans for it. Now, less than a month after the launch of their new console, Nintendo is already faced with a lawsuit coming from a company by the name of Interlink Electronics.

Admittedly, I have never once in my entire life heard of Interlink. However, the “About” page on their Web site claims they are “one of the world’s leading innovators of intuitive interface design.” To their credit, at the very least, the company knows how to use alliteration reasonably well.

Interlink Electronics is one of the world’s leading innovators of intuitive interface design.  From our corporate headquarters in Camarillo, California and offices in Japan, Taiwan, Hong Kong and China, we design, develop and manufacture human interface products and solutions for consumers and consumer electronics companies around the world.  With more than 80 patents and a rich 15-year history, Interlink has established itself as a clear business and technology leader in a wide range of markets.

The company has filed a complaint against Nintendo for patent infringement and jury demand. Here’s the bit that counts:

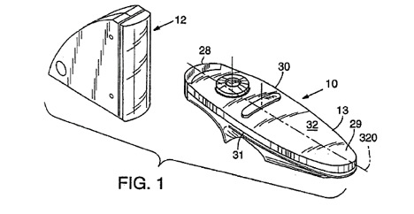
6. On February 1, 2005, U.S. Patent No. 6,850,221 (“the ‘221 patent”), entitled “Trigger Operated electronic Device,” was duly and legally issued. (See Exhibit A, U.S. Patent No. 6,850,221.)

7. Defendant has made, used, offered for sale and sold in the United States, and continues to make, use, offer for sale and sell in the United States one or more controllers, which activities infringe, induce others to infringe, and/or contributorily inringe the ‘221 patent. 

8. Plaintiff has suffered damages, including but not limited to, loss of reasonable royalties, reduced sales and/or lost profits as a result of the infringing activities of the defendant, and will continue to suffer such damage as long as those infringing activities continue.

Hit the jump for more, and to view images of the patent. 

 

Figure 2

Of course, every problem — no matter how great — has a solution, and this one is no different. Just like any other company that files lawsuits, Interlink has some demands for relief that they request be met:

A. Preliminary and permanently enjoining and restraining defendant, its officers, directors, employees, agents, servants, successors, and assigns, and any and all persons acting in privity and in concert with the defendants, from further infringement of the ‘221 patent.;

B. Awarding Plaintiff its damages, together with prejudgement interest and costs, and increasing those damages to three times the amount found or assessed as provided by 35 U.S.C. § 284;

C. Declaring this an exceptional case of 35 U.S.C. § 284, and awarding Plaintiff its reasonable attorney’s fees and costs and disbursements in this action; and

D. Granting to plaintiff such other and further relief as this Court deems reasonable.

In other words, they want money. Lots of it. What will you do, Nintendo? Will you fight back, as Sony did against Immersion, or will you pay them off and avoid getting your hands dirty? We’re a gaming news blog, so it should be pretty obvious who we’re going to be siding with on this one. Go get ’em, tiger.

Figure 3

Figures 4, 5 & 6

 

NEWSLETTER

SIGN UP FOR THE
DESTRUCTOID NEWSLETTER